Capítulo 1
Montaje de soportes de tuberías
La instalación de una tubería industrial termina cuando tras las pruebas de presión y estanqueidad, los productos se transportan en régimen normal. Pero uno de los pasos más importantes es la instalación de la red en un lugar definitivo.
Los soportes que sostienen las tuberías y sus accesorios deben estar perfectamente realizados, para asegurar que la instalación pueda absorber tanto las dilataciones, como los pequeños movimientos que se pueden producir.
Por medio de la soldadura, o por las uniones desmontables que proporcionan los montajes realizados con atornillado, las instalaciones de tubería industrial deben cumplir las prescripciones que se indican en los proyectos. Mediante los diferentes accesorios aplicados a cada tipo de instalación y material se consigue hacer el tendido de las redes de manera sencilla y rápida.
El buen transporte de los productos fluidos o sólidos por las instalaciones de tubería industrial, normalmente tiene que ver con un alineamiento e inclinación adecuada. La buena estética, a pesar de ser secundario, se consigue por medio de instrumentos que facilitan el control de la geometría.
Existe un gran mercado de tipos de soportes que se aplican a las distintas instalaciones.
La seguridad que se debe guardar a la hora de la elevación de los tramos de tubería, se consigue con elementos que se aplican a las tuberías de modo que se salvaguarda a los operarios de accidentes indeseables.
El armado de tuberías en el taller mecánico es el segundo paso que se realiza después de la fabricación de las diferentes piezas de una instalación industrial. El posterior montaje definitivo en la obra, colocando los soportes que lo unen a la estructura fija, es el último paso antes de iniciar las pruebas y el transporte de los fluidos o sólidos por el interior de ellas.
Existen dos tipos de unión para los diferentes elementos individuales que forman parte de las instalaciones: la soldadura (fija) y el atornillado (desmontable).
Cada uno de ellos tiene características diferentes.
La soldadura es el método de unión fija de elementos metálicos más empleado actualmente sustituyendo a otros que utilizaban remaches de cabeza esférica.
Los extremos de los tubos, accesorios y elementos auxiliares que deben unirse, tendrán una preparación previa para poder realizar la técnica de soldeo adecuada, asegurando así que el producto transportado cumple la función de estanqueidad requerida.


Debido a la diversidad de infraestructuras, productos a transportar y materiales de construcción utilizados, no existe una estandarización para las uniones de continuidad de las tuberías.
En las instalaciones de tubería industrial, con el empalme de las diferentes partes, se consigue resistencia, ligereza y rapidez en la realización del armado y montaje del conjunto final.
Para las uniones de tubos y accesorios por soldadura, se pueden emplear diferentes métodos, dependiendo del material y del equipo que se disponga en las instalaciones industriales o en la obra:
Se puede realizar también una clasificación general de los procedimientos empleados para las uniones soldadas:
Con metal de aportación (oxigás y eléctrica por arco)
En los dos métodos se calientan las superficies efectuando un aporte de material que hace de unión entre las piezas a ensamblar.
En el caso de la soldadura oxigás (oxiacetilénica), esta se realiza mediante una varilla de material compatible, mientras se calientan las superficies con una mezcla de oxígeno y acetileno que mantiene la llama encendida. En el caso de la soldadura eléctrica por arco, es el mismo electrodo el que se funde, aportando material a la unión.


Sin metal de aportación. (por puntos)
Se realiza haciendo pasar por los extremos de las pinzas electricidad a mucha intensidad, fundiéndose los elementos a unir en el punto donde se ha realizado el pinzamiento.
La Ley de Joule relaciona la intensidad (I) de la corriente, la resistencia (R) y el tiempo (t), durante el cual el circuito está cerrado. Se calcula con ella el calor que se desprende en un circuito.



Sabía que...
El efecto Joule se aplica, además de industrialmente en la soldadura, en el funcionamiento de electrodomésticos como los hornos, tostadoras y calefacciones eléctricas, por medio del calor que emite la resistencia del aparato.
En la fabricación industrial de los tubos que se construyen curvando la chapa en forma circular, la soldadura se realiza de manera continua en la dirección longitudinal de la pieza.
El ensamblaje por puntos se aplica también en montajes de elementos de automoción, realizándose de manera veloz y consiguiendo una gran seguridad y acabado.
En los alrededores del cordón de soldadura existen deformaciones en el elemento debido al calor, disminuyendo conforme se aleja de la zona soldada. La capacidad mecánica de la soldadura es variable, ya que se produce de distinta manera según la parte donde se analice.

En la soldadura eléctrica por arco, el electrodo es el que sirve de “unión teórica” entre los elementos a ensamblar, permitiendo el paso de las cargas eléctricas y la fusión de las piezas. El recubrimiento es importante, ya que sirve para evitar la oxidación del acero y como material de aportación.
Formas de las uniones soldadas
Las uniones soldadas, dependiendo de la forma de empalme de las piezas que forman las instalaciones de tuberías, se pueden presentar de tres maneras:
La preparación de las superficies a soldar es una actividad esencial para el buen funcionamiento de la unión que se realice.
Dependiendo del espesor de la chapa a ensamblar se pueden presentar cinco tipos de preparaciones, según la norma de obligado cumplimiento DIN 2559 para chaflanes de soldadura.
| Presentación | Símbolo | Dimensiones |
![]() |
![]() |
e hasta 3 mm b de 0 a 3 mm |
![]() |
![]() |
e de 3 a 16 mm b de 0 a 4 mm β aproximadamente 60° |
![]() |
![]() |
e 12 mm o más b de 0 a 3 mm c 2mm β aproximadamente 10° |
![]() |
![]() |
e 12 mm o más b de 0 a 4 mm c aproximadamente 4 mm α aproximadamente 10° β aproximadamente 30° |
![]() |
![]() |
e 16 mm o más b de 0 a 2 mm c aproximadamente 6 mm α aproximadamente 6 ° β aproximadamente 35° |
Tipo de preparaciones según la norma DIN 2559
En general y no solo para tuberías, se pueden presentar también diferentes posiciones para las piezas a unir por soldadura.

Unión soldada a tope sin bridas
En las uniones de elementos en las instalaciones de tubería industrial que requieren estanqueidad, la soldadura es el método más empleado en el armado y el montaje definitivo. Existen además, en la actualidad, pegamentos con los que se consiguen fusiones muy potentes.

Importante
En las soldaduras a tope, la preparación de las superficies es absolutamente fundamental para conseguir una buena, resistente y duradera unión.
Tanto en la unión del tubo en su dirección circular como en los injertos, se realizará la soldadura a todo alrededor, para asegurar la estanqueidad interna de la tubería cuando se transporte el producto.

Los rebordes de más asegurarán la perfecta unión de las partes soldadas.
Sistemas de unión soldada empleados
Cuando se tienen grandes diámetros se emplean bridas de unión (para atornillar) que van soldadas en los extremos de los tubos, válvulas y accesorios. De esta forma se requiere una soldadura del extremo a la brida fija.
Dependiendo del acabado en las extremidades de los tubos o accesorios y otros elementos a soldar, se pueden encontrar:
De extremo plano
Las caras de las bridas se encuentran en contacto, realizándose la soldadura en la parte exterior, normalmente en un reborde que tiene por construcción. Eventualmente se puede colocar una junta elástica en el anillo de unión entre ellas.

De enchufe y soldadura
La brida dispone de un rebaje donde se centra el tubo, realizándose de igual manera la soldadura en la parte exterior en toda la longitud del reborde de esta.

Deslizante
Se realizan dos soldaduras, una externa como la descrita anteriormente, y otra interna de seguridad, manteniendo un anillo libre en el agujero de la brida.

De cuello para soldar a tope
En este tipo se mantienen uniformes los diámetros interiores del tubo y de la brida, realizándose la soldadura a tope en un cuello que tiene esta.

Brida loca
En ensamblajes que se realizan con extremos de tubos con pestaña se utiliza un elemento llamado valona, que hace de pieza intermedia para la unión soldada al tubo, y como tope donde se puede desplazar la brida llamada loca. Esta está libre hasta que se realice el empalme con elementos roscados.

Brida ciega
Se atornilla al final de un tramo tapando el canal de transporte (tubería). Su eventual desmontaje se realiza para una limpieza y mantenimiento en la instalación.

Debido a la gran variedad de materiales, formas y productos a transportar por las construcciones de tubería industrial, existen diferentes maneras para resolver la unión roscada desmontable y los elementos constituyentes de estas instalaciones.
Uno de los más utilizados consiste en un manguito roscado hembra que une los extremos macho de dos tubos.


Nota
Esta manera de ensamblaje ha de realizarse de forma que la estanqueidad quede asegurada, utilizando selladores localizados en las roscas.
En las uniones de tubos con diámetros de dimensiones considerables, o cuando el producto transportado requiera un estancamiento elevado, se utilizan las bridas que se unen a los extremos de estos.

Existen combinaciones de tornillo-arandela-tuerca dependiendo del tipo de unión que se necesite según el proyecto de ingeniería.
Por medio de las bridas, se pueden realizar empalmes desmontables en los extremos de los elementos de las instalaciones de tuberías industriales. El espárrago roscado, junto con las tuercas aseguran la unión, y la junta elástica entre las caras de las bridas permite la absorción de las irregularidades de mecanizado de estas.

Operaciones de atornillado manual
La unión más clásica entre piezas se realiza mediante tornillo o perno, arandela y tuerca. Las piezas a unir pueden estar o no roscadas. La arandela proporciona a la unión una gran resistencia, ya que absorbe los posibles movimientos que se puedan producir en el montaje, o la presión interior que se origina en las tuberías.
Para realizar el atornillado o desatornillado del elemento de unión se debe colocar la cabeza de la herramienta en la cabeza del elemento roscado, haciendo el giro de la llave alrededor del tornillo o tuerca.

Nota
Se obtienen desplazamientos lineales de avance o de retroceso en el elemento roscado, dependiendo si se realiza la rotación a derechas o a izquierdas.
Operaciones de atornillado mecánico
Hoy por hoy, con el desarrollo de la industria, existen herramientas hidráulicas que permiten un trabajo más cómodo y rápido en la realización de montajes y desmontajes de tuberías de gran diámetro.
Estas ejecutan los aprietes de los elementos de unión de las bridas de manera eficiente, consiguiendo una alta calidad en el trabajo realizado.
Llave hidráulica de apriete
La conveniente fuerza con la que las uniones de elementos roscados están realizadas se comprueba con la llave dinamométrica.
Llave dinamométrica manual
Los pasos a seguir para la comprobación correcta del apriete serán:
De la misma forma, existen llaves dinamométricas que se colocan en las cabezas de los tornillos y tuercas para comprobar, que utilizan la fuerza hidráulica en su trabajo.
Llave dinamométrica hidráulica
Como en el caso de los tramos de tubería recta, en los extremos de los accesorios, a veces se encuentran preparaciones ya realizadas para soldar o roscar. De esta manera, los demás elementos como injertos, derivaciones, o válvulas de regulación del caudal, se pueden incluir en las instalaciones mediante soldaduras fijas, roscado de extremos o atornillado de las bridas de unión.
Existen diferentes tipos de instalaciones de tubería, dependiendo del producto que se transporta, es decir, fluidos líquidos o gaseosos y sólidos. Se hace necesario recordarlos de manera esquemática:
| PRODUCTOS LÍQUIDOS | PRODUCTOS GASEOSOS | |
| Instalación | Instalación | |
| Calefacción con transporte de agua | Aire comprimido | |
| Calefacción con transporte de aceite | Gas ciudad | |
| Calefacción con transporte de aire | Gas natural | |
| Fontanería de agua fría | Gas medicinal de oxígeno | |
| Fontanería de agua caliente sanitaria | Vapor industrial | |
| Fontanería de abastecimiento | Instalaciones de vacío | |
| Fontanería de riego | Evacuación de humos | |
| Fontanería fija para protección contra incendios | Ventilación | |
| Alcantarillado | ||
| Depuración de líquidos | ||
| Saneamiento de viviendas | PRODUCTOS SÓLIDOS | |
| Saneamiento urbano | Instalación | |
| Oleoductos de gas natural | Caida por gravedad de productos sólidos | |
| Oleoductos de petróleo | Transporte neumático aire-sólido en presión | |
| Oleoductos de derivados del petróleo | Transporte neumático aire-sólido en succión |
Instalaciones de tuberías en la industria.
Dependiendo del material del que están construidos los tubos y accesorios, se pueden encontrar:
En los casos de elementos metálicos, la soldadura o el atornillado se encuentran entre los métodos utilizados, siendo además una técnica muy extendida en la actualidad la unión por termofusión de las piezas, así como la unión por medio de pegamentos, para las instalaciones con accesorios realizados de polímeros plásticos.
Se pueden encontrar, además, roscados realizados en estas piezas plásticas que en la actualidad, con manguitos, anillos y juntas consiguen la estanqueidad necesaria en los montajes.
En la mayoría de los casos, en tubos y accesorios de tamaño mediano o de pequeño calibre, la soldadura a tope es el método más utilizado en el armado y montaje de los diferentes tramos y accesorios de que consta una instalación industrial de tuberías.
Existen formas de codo de 90° (radio corto o radio largo), de 45°, unión de 180°, “T”, reducciones concéntricas siguiendo el mismo eje y excéntricas, topes finales, tapaderas, etc.

Nota
La ventaja que proporciona la soldadura al diseñador y al montador, es que consigue gran aislamiento y estanqueidad sin fugas en todos los tramos, así como una terminación altamente estética.
Proporcionan un cómodo chaflán para realizar las soldaduras, pudiéndose adaptar fácilmente a los diferentes cambios de dirección que se encuentran en las obras gracias a las distintas piezas curvadas estándar. Estos codos tienen un espesor uniforme, de manera que no se producen ni pérdidas de carga por rugosidad interna, ni aceleraciones en el producto fluido por la disminución de diámetro en la curvatura mal realizada en la obra.
Con la soldadura se pueden realizar tramos completos en el montaje, así como incluirse accesorios de unión en forma de “T” que permiten una reducción del número de injertos a efectuar.
Distintos accesorios de tubería de pequeño calibre
Los accesorios estandarizados permiten no tener que realizar curvados en frío o en caliente, siendo la soldadura, bien realizada, un método más rápido y seguro que los embridados en los extremos de las piezas.
En determinados casos, en tuberías de mediano y pequeño calibre con productos a baja presión, las uniones se resuelven mediante ensamblajes roscados, proporcionando al montador la facilidad, rapidez y comodidad de no llevar siempre el equipo de soldadura.
Extremo roscado
Los extremos de los tubos, accesorios y válvulas pueden tener diferentes formas. La unión roscada por la que se unen los diferentes elementos para conseguir la continuidad de la instalación puede ser de:

En instalaciones de tubería metálica se utilizan manguitos roscados en los extremos de los tubos y accesorios.
Manguitos metálicos roscados
Uno de los inconvenientes es la posible pérdida de producto por no conseguir la estanqueidad que se requiere en las instalaciones debido al tallado de las roscas. Existen selladores que aíslan de las fugas en las zonas roscadas.
Una ventaja importante es la rapidez y limpieza que se obtiene en el montaje con elementos roscados, ya que estos tendidos de tuberías a menudo se realizan por lugares difícilmente accesibles, con lo que la comodidad de trabajo que obtiene el operario es mayor.
La gran diversidad de aplicaciones que se pueden encontrar en las tuberías industriales incluyen tramos que discurren sobre el suelo, con sus apoyos puntuales, fijación de tuberías al techo o a los soportes que van por las paredes, y tramos que están enterrados, ya sea en lugares urbanos como a través de recorridos de abastecimiento y depuración de productos.
Pero para todos y cada uno de los tipos de transporte es necesaria la nivelación de los tramos de tubería, no solo en la posición horizontal que la estética aconseja, sino a una determinada inclinación para que el producto se desplace en condiciones de evitar atascos.

Recuerde
Con la inclusión de válvulas de cualquier tipo, e injertos de unión y diversificación en las redes de tubería industrial, es importante conseguir que la alineación de los tramos se mantenga en las condiciones que se desean, de forma que con los apoyos se consiga la horizontalidad o inclinación que se pida según el proyecto.
En las instalaciones de saneamiento esos apoyos se colocarán y se nivelarán para conseguir que el movimiento se consiga en la dirección de la evacuación.
Instalación y nivelación de tubería de saneamiento
El lecho de arena, donde se apoya la tubería industrial que va enterrada, consigue absorber los movimientos que se pueden producir por las vibraciones al paso de vehículos o personas. También existen conducciones reforzadas con hormigón en masa.

Las tuberías de caída de transporte por gravedad de productos sólidos deben tener una inclinación para facilitar el desplazamiento del producto, y de la misma forma, conseguir una velocidad adecuada que evite el rozamiento excesivo y el desgaste consiguiente del tubo. Dependiendo del género que se trate, la desviación se ajustará para conseguir la velocidad adecuada por el interior.

Para cada instalación existirá un método de aplicación, pero la utilización de los siguientes instrumentos es recomendada para conseguir el replanteo en el montaje en las condiciones que el proyecto exija.
Se pueden encontrar desde los más clásicos, como el nivel de burbuja y la plomada, hasta los de marcación lumínica por láser, además de instrumentos topográficos para comprobar y realizar el posicionamiento por diferencia de altitud en la tubería industrial enterrada.
Mantener la linealidad horizontal o vertical a 90°
En los casos de querer mantener la linealidad horizontal o vertical a 90° por necesidad o estética, los instrumentos de comprobación clásicos son:
Nivel de burbuja
Con él se pueden comprobar que las superficies se encuentran horizontales, verticales o con un determinado ángulo. Cuando la burbuja de aire que tiene el recipiente de líquido se encuentra entre las dos marcas de que dispone, se obtendrá en la pieza la linealidad que se desea.
Nivel de burbuja, plomada y cordel de trazado

Nota
Tiene muchas aplicaciones, y es muy utilizado para comprobar que los conjuntos de tuberías que se han armado mediante uniones atornilladas o soldadas se encuentran en línea.
Plomada
Se utiliza como instrumento de comprobación para conseguir la vertical, puesto que un peso siempre se mantiene en ella cuando se queda en reposo.
Cordel de trazado
Sirve para realizar las marcas horizontales, verticales o en cualquier ángulo, y así indicar el posicionamiento de la tubería y la colocación de sus soportes.
Cinta métrica
Es una cinta flexible graduada en centímetros, milímetros o pulgadas que se utiliza para medir inicialmente la situación de las tuberías y sus soportes. En obra es el instrumento que más se utiliza. Al ser flexible, se adapta a formas redondas, y con ella se pueden realizar las comprobaciones de las medidas de control efectuadas con los anteriores instrumentos.
Cinta métrica
Conseguir que las tuberías mantengan la inclinación adecuada
Es el caso del transporte de sólidos por caída. Las tuberías deben tener una inclinación adecuada a cada uno de ellos para conseguir la velocidad exacta de desplazamiento, y a la vez, que el desgaste interior del tubo y válvulas sea mínimo.

Sabía que...
El rozamiento de los productos sólidos es tan abrasivo que puede llegar a destruir el metal de la tubería interiormente, debido a la fricción.
Falsa escuadra
Está construida con dos reglas unidas mediante tornillo y tuerca en un punto. Se puede abrir o cerrar a voluntad con el fin de formar un ángulo cualquiera, y así poder transportarlo a otra pieza o superficie.

Existen en la actualidad instrumentos que utilizan la luz láser para, de una misma forma, poder marcar en las paredes, techos o suelos una línea sin necesidad de marcación física. Estos deberán estar perfectamente aplomados y nivelados mediante un trípode que permita su correcta instalación. También hay aparatos que desvían la luz láser con las inclinaciones que se necesitan para el replanteo de tuberías con inclinaciones variables.
Láser de nivelación sobre trípode
Objetivo reflector
Comprobar la diferencia de altura entre puntos
En los montajes de tuberías enterradas, o sobre superficies del terreno, la diferencia de altura entre puntos se puede comprobar para colocar los soportes que la tubería industrial deba llevar, y así mantener las inclinaciones que se marcan en los proyectos de instalación.
Nivel topográfico
Es un equipo formado por una mira de visión, una cinta métrica y el nivel propiamente dicho. Se calcula el desnivel por diferencia de lecturas entre las observaciones realizadas en la mira desde el objetivo del nivel, convenientemente aplomado sobre el trípode.


Sabía que...
Además del nivel, existen otros instrumentos de medición de niveles en topografía como el taquímetro.
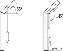
Se debe comprobar que todos los tramos tienen las piezas que se encuentran indicadas en los planos del proyecto de instalación de tuberías para transporte de cereal, a su vez se tiene que probar que dichos tramos se encuentran nivelados con las inclinaciones pedidas (55°).
Realice una descripción de las actividades e instrumentos utilizados en la comprobación del tramo de tubería de caída indicado en la imagen, perteneciente a una pieza que ya está instalada.

Solución
Al tratarse de una tubería de caída de cereal, la exactitud debe ser grande, ya que el paso del producto, al ser abrasivo, podría ocasionar grandes desgastes por una velocidad excesiva, o atascos por lentitud.
En primer lugar se comprobará la verticalidad del tramo mediante la plomada, convenientemente anudada por la cuerda al tramo inclinado, ayudándose también con el nivel de burbuja.
En segundo lugar, y teniendo en cuenta que la inclinación debe ser de 55° sexagesimales con la horizontal, se abrirá la escuadra falsa hasta los 145°, que resultan de sumar 90° a los 55° pedidos.

Con estas comprobaciones, y las modificaciones que hubieran de llevarse a cabo, se conseguirá que se dé el visto bueno a la instalación de este tramo.
Equipos se consideran las máquinas soldadoras y las de atornillar mecánica e hidráulicamente, y herramientas las manuales como llaves, alicates de sujeción y mordazas de presión. Posteriormente se describirán los medios auxiliares como andamios, plataformas y elementos de seguridad para trabajos en altura.
La máquina que se utiliza en la soldadura eléctrica por arco es la soldadora, donde se reduce el voltaje de la corriente eléctrica, aumentando la intensidad y consiguiendo una fusión del electrodo por calor.
Soldadora

Nota
Existen diferentes equipos de soldeo que se adaptan a cada material y características de acabado que se necesite.
Protección del operario soldador
El esquema básico de las operaciones de soldeo está expresado en la siguiente imagen, en la que se cierra el circuito eléctrico desde el electrodo y la pinza, con el arco eléctrico que hace que se funda y aporte material a la superficie preparada de la pieza.

El método de soldadura eléctrica más común es con arco no protegido (al aire), en el que se utilizan electrodos revestidos o recubiertos. Se consigue una capa de protección de escoria que se deposita sobre los cordones, y que hace que la unión no se oxide durante el enfriamiento del cordón. Se debe eliminar posteriormente cuando ya esté fría.

En la imagen se puede ver cómo al realizar el arco por medio del electrodo, este se funde junto con el revestimiento, penetrando en las piezas hasta una profundidad adecuada, rellenando las juntas y formándose la escoria de protección que se ha de eliminar tras el enfriamiento, mediante martillado y cepillado.
El cordón de soldadura avanza a lo largo del empalme depositando material y rellenándolo con metal fundido.
Este material de aportación (electrodo) pasa a través del arco eléctrico de forma que se producen salpicaduras que pueden llegar a producir quemaduras en el operario. La conveniente protección debe ser tenida muy en cuenta.
Aplicación práctica
Se están realizando trabajos de instalación de tuberías embridadas en la obra, siguiendo las especificaciones expresadas en el plano de montaje.
Al realizarse los trabajos surge un problema, ya que uno de los tramos que según el proyecto debía discurrir recto, se encuentra con un soporte estructural que hay que evitar. La decisión que se ha tomado es realizar unos cortes y unos empalmes en el tramo de tubería para evitar el soporte.
Hay que describir las operaciones de soldeo que han de realizarse, con la máquina soldadora eléctrica portátil de que se dispone, sabiendo que se deberá realizar con electrodo “al aire”.
Solución
Este trabajo se realizará en la mesa, uniéndolo posteriormente a los embridados, según el proyecto.
Se elabora una lista de los pasos a efectuar en los tubos que se desean soldar.


Se quitan los tubos ya soldados del soporte del banco de fijación y se realizan las uniones del tramo de tubería a las bridas, según el proyecto.
Existen herramientas manuales y automáticas que se emplean para el atornillado de los elementos roscados en la unión de las bridas en los extremos de los tubos.
Las herramientas clásicas manuales son:
Llaves calibradas
Está formada por una o dos bocas que se adaptan a la forma de la cabeza del elemento de unión. Se gira la llave, obteniendo desplazamientos (avance o retroceso) en la pieza roscada.

Nota
Las diferentes variedades dependen de la forma de cada cabeza. El apriete se realiza girando la llave de manera perpendicular al tornillo o tuerca.
Llave fija
Es abierta y se emplea para elementos con cabeza hexagonal, con el inconveniente de agarrar solo dos de las caras y tener que quitarla, desplazarla y volver a ponerla en cada avance.
Llave fija
Llave de estrella
Es más segura que la plana al ser cerrada. Tiene seis o doce muescas que se pueden fijar a la cabeza hexagonal.
Llave estrella
Llave mixta
Combina los dos tipos anteriores, de manera que el acceso a tornillos y tuercas se realiza con mayor facilidad.
Llave mixta
Llave de tubo
Se trata de una llave doble. Una de las bocas se introduce en el elemento a montar o desmontar realizando el apriete de manera axial. Se gira mediante un pasador introducido en el taladro que tiene, consiguiendo un buen brazo de palanca. Es utilizado para elementos de difícil acceso.
Llave de tubo
Llave de vaso
Es una llave corta de tubo que se acopla a una herramienta eléctrica o neumática, o manualmente por medio de un brazo para realizar la palanca.
Llave de vaso
Llave de carraca
Dispone de un trinquete, muy útil para realizar el apriete del elemento, ya que en una dirección actúa no permitiendo el giro, mientras que deja hacer el retroceso de la llave en el otro sentido. Se acopla a la llave de tubo para realizar trabajos con más comodidad.
Llave de carraca
Llave de pipa
Tiene esta forma para conseguir mayor accesibilidad a lugares complicados. Es una combinación de llave de tubo y de vaso. Se transforma el apriete de la dirección axial del elemento en dirección tangencial.
Llave de pipa
Llave de racor
Es abierta, combinando las características de la llave plana y la de estrella. Tiene las ventajas e inconvenientes de las dos.
Llave de racor
De mango articulado
Dispone de una articulación del tipo cardán, con la que se consiguen posturas que se adaptan a lugares de muy difícil acceso. También se acopla normalmente a la llave de vaso.
Llave mango articulado
Llave inglesa
El tornillo sinfín permite la abertura y cierre de la boca, adaptándose al tamaño de los diferentes calibres que se tengan que apretar o aflojar. Es muy útil, evitando tener que cargar con amplísimos juegos de llaves calibradas para cada tipo de boca.
Llave inglesa
Llave ajustable
También dispone de un tornillo sinfín, pero la boca tiene unas mordazas que realizan aprietes normalmente en superficies cilíndricas como tubos.
Llave ajustable

Nota
También llamada “llave grifa”, se utiliza mucho en los montajes de fontanería y de gas.
Llave de tornillo
Es en realidad una llave inglesa, pero que dispone además de un tornillo de fijación.
Llave de tornillo
Para el tendido de las instalaciones de tuberías y sus soportes según la documentación del proyecto, se utilizan elementos auxiliares y herramientas que facilitan el trabajo.
En el armado de los tramos, a menudo hay que realizar cortes para adaptarlos a las características peculiares del lugar donde han de ser instalados.
Cortatubos
Consta de dos cuchillas entre las que se introduce el tubo, de pequeño calibre. Se realiza el corte haciendo girar el cortatubos hasta que las hojas parten el espesor de tubo.
Cortatubos
Tornillo de banco o mordaza
Se utiliza para el montaje mecánico, o la soldadura en el taller o en la obra. Esta mordaza adaptada para tubos facilita el trabajo. La sujeción se realiza con mayor seguridad al poder acomodarse a diferentes diámetros, elevando la seguridad en cuanto a accidentes laborales.
Mordaza para tubos
Alicates
Es una herramienta de fijación aunque también se puede utilizar en los montajes de pasadores, en el corte de alambres más o menos gruesos y para la sujeción de elementos que se deban golpear, consiguiéndose gran seguridad en su empleo. Es muy versátil y tiene distintas formas que están adaptadas para diferentes usos.
Consta de una boca y dos mangos que se utilizan con una mano en pequeños tamaños o con las dos cuando se debe emplear un gran brazo de tijera.
Dos de los tipos más utilizados en las instalaciones de tuberías, en el armado de taller y en el montaje en la obra, se describen a continuación.
Alicates universal
Es el más utilizado y el que se adapta a más aplicaciones. Las mordazas tienen, consecutivamente, forma para agarre de superficies planas, superficies curvas y cuchillas para cizallar.
Alicates universal
Alicates de bocas planas
Se emplea para sujetar elementos con superficies planas. El moleteado en las mordazas facilita el trabajo de agarre, aunque puede provocar marcas en la pieza sujetada.
Alicates de bocas planas


Definición
Moleteado
Son las aristas que se marcan en las superficies metálicas, con distintas inclinaciones, y que sirven para conseguir un mayor agarre de otras piezas, o para montajes que han de realizarse manualmente. Es un procedimiento realizado “sin arranque de viruta”.
Mordaza de presión
Consta de unas mordazas que se cierran o abren, efectuando mediante un tornillo, una fuerte sujeción cuando se ha agarrado el material. Se utilizan para soportar piezas que se van a taladrar, proporcionando gran seguridad en el operario.
Mordaza de presión
El soporte que se debe emplear para cada tipo de tubería industrial, vendrá indicado según las características propias de los tubos y accesorios.
Se pueden encontrar instalaciones de diferentes diámetros, materiales y peso, y condiciones ambientales a la intemperie o bajo techo. De esta forma se tienen soportes tipo anillo, bandeja, o incluso estructuras exclusivamente diseñadas, para el aguante de las grandes dimensiones que pueden llegar a tener los tramos de tubería.

Soporte tipo bandeja
Soporte tipo estructura
Las dilataciones y movimientos relativos a que pueden estar sometidas las tuberías, hacen que los soportes deban tener una flexibilidad en el contacto con estas, y una fuerte sujeción a las estructuras fijas que se encuentran en las instalaciones donde los tubos deben ser finalmente colocados.
Diversos soportes tipo anillo y tubular
A la hora de la elección del tipo de sujeción de los tramos de tubería a la estructura, una vez elegido el modelo de soporte, habrá de considerarse el lugar más adecuado para colocarlo.

Importante
Existen en el mercado empresas muy especializadas que desarrollan soportes para casi todas las aplicaciones que se pueden presentar en la industria de tuberías de transporte de productos, y la elección del tipo adecuado para realizar la sujeción se ha de tener muy en cuenta.
La deformación que se produce en cada una de las formas de apoyo tiene que ver con el movimiento libre que se le permita realizar. De esta manera, un apoyo puntual no se podrá desplazar en la dirección del agarre, un empotramiento no se moverá en ninguna dirección, y un extremo descenderá por su propio peso más el del producto que transporta, y por el crecimiento en dimensiones debido a su dilatación.

Aplicación práctica
En obra, se debe anclar un largo tramo de tubería a los soportes estructurales que se encuentran en las instalaciones. En este caso se utilizarán tres apoyos, dos de ellos en el suelo, y otro colgado, tal y como se indica en el esquema.

Realice un dibujo en el que se estime la posible deformación de la tubería cuando ya se encuentre cargada con el líquido que transporta, realizando una valoración sobre si se deberían utilizar más soportes de los inicialmente previstos.
SOLUCIÓN
Las tuberías rectas se consideran como elementos estructurales tipo viga, apoyadas o suspendidas por sujeciones continuas, de manera que en la deformación se tendrán que estudiar los puntos más desfavorables.
Los lugares donde se deben colocar los soportes estarán en función de la distribución de elementos más pesados como válvulas, codos y otros accesorios. De esta forma, los puntos de soporte, ya sean con las tuberías suspendidas o apoyadas, se deben colocar en el tercio central de cada tramo, realizando el armado de bridas lo más cerca posible de los puntos de momento flector nulo.

Con la deformación que se ha estimado, y siempre dependiendo de la distancia entre los apoyos, se tomará la decisión de si la seguridad y la deformación tanto estructural como estética es aceptable para dar por finalizado el montaje. Siempre la experiencia es muy importante en estos casos.
No siempre es fácil elegir los puntos de apoyo, ya que las condiciones de las estructuras donde se deben colocar las tuberías pueden variar en cada uno de los casos.
El soporte de suspensión más extendido es el tipo horquilla, que se puede situar tanto en suspensión como en forma de fijación al estribo estructural que se encuentre en el tendido de la red de tubería industrial.
Unos elementos que facilitan el armado de las tuberías en obra son las abrazaderas. Están construidas de pletina doblada y taladrada, y se montan unidas dos a dos, ancladas a un soporte en el techo o en la pared.

Los ganchos realizan la misma misión de apoyo, pero son abiertos, lo que facilita en gran medida el eventual desmontaje de la instalación para mantenimiento o reforma.
Están construidos con una varilla roscada en el extremo de la fijación del soporte.

El trabajo de montaje de tuberías industriales y sus soportes se puede complicar en gran medida cuando las dimensiones y la posición deseada en las instalaciones se deben realizar en altura o en lugares de difícil acceso.
Para ello, los equipos auxiliares como los andamios aseguran que los trabajos se realizarán con las medidas de seguridad adecuadas, facilitando igualmente las labores de ensamblaje por parte de los operarios.

Recuerde
La posible deformación que se produce en los andamios tiene que ver, como en las tuberías, con el tipo de apoyos que tenga.
Entran en juego igualmente las medidas de protección colectiva e individual, así como dispositivos ya adaptados a la legislación de seguridad como pueden ser las escaleras y las plataformas de trabajo.
Mono, arnés y escalera con medidas de protección
La normativa de seguridad en la instalación de andamios se ha modificado pasando del Real Decreto 1215/1995, de 18 de julio, al actual Real Decreto 2177/2004, de 12 de noviembre, por el que se establecen las disposiciones mínimas de seguridad y salud para la utilización por los trabajadores de los equipos necesarios en materia de trabajos temporales en altura.

Nota
La normativa local específica, se deberá de tener también en cuenta para cada municipio, en trabajos a la intemperie o bajo techo.
En la modificación de las condiciones de instalación, utilización y desmontaje de los andamios se tendrán en cuenta las disposiciones generales:

Existirá un plan de montaje, utilización y desmontaje de los andamios que se deban usar en los trabajos de ensamblaje de tuberías en altura. De esta forma las responsabilidades por la utilización quedarán delimitadas.
La regla general será que las diferentes piezas que forman parte de un andamio no deberán ser de distinto tipo, no permitiéndose la combinación de diferentes sistemas en un mismo medio auxiliar.
De la misma forma se tendrán que cumplir otros puntos:
Se utilizan para realizar trabajos en altura o en lugares que requieran seguridad específica. Son obligadas cuando se realizan trabajos en superficies de más de dos metros de altura desde la entrada en vigor de la Ley 31/1995, de 8 de noviembre de prevención de riesgos laborales. Su versatilidad y movilidad se adapta a muchas aplicaciones para montajes de equipos e instalaciones.
Diferentes plataformas de trabajo
En la actualidad es un equipo auxiliar muy utilizado en cualquier obra de construcción, montaje y mantenimiento de elementos a determinada altura (mayor de 2 metros). Poseen todas las características exigidas por la ley en cuanto a barandillas, rodapiés, base antideslizante y manejo individual por parte del montador.

Importante
Al final de la jornada laboral hay que plegar la plataforma de trabajo, evitando los desplazamientos accidentales con el anclaje de los frenos.
La utilización de estos equipos mejora la seguridad de los operarios, siempre que se realice de forma correcta. La formación e información previa de sus instrucciones de utilización, por parte del empresario, es obligatoria.
En trabajos de montaje de tubería industrial de dimensiones medianas y/o grandes la colocación de los distintos elementos de que consta una instalación se puede complicar. La elevación de las diferentes partes o subconjuntos se convierte en una labor delicada que se debe realizar con las medidas de seguridad adecuadas.
Las grúas son las máquinas indicadas para la elevación en los trabajos de ensamblaje, y su utilización debe ser correcta, debiéndose mantener las convenientes medidas de seguridad.
Los equipos de elevación no se deberán utilizar para otros fines distintos de los que se han pensado en su diseño y deberán tener visibles las características de peso máximo admitido, según la configuración de montaje que pudiera tener (grúas desmontables).
Entre los peligros que pueden aparecer en la manipulación con grúas se pueden tener:
En general, para cualquier operación de elevación de materiales, los utillajes que se usen para el anclado de la carga en la grúa deberán ser homologados y ser realizados con la seguridad que se describe en las imágenes siguientes:


En el caso de elevación de tuberías o sus tramos prearmados, siempre se habrá de tener en cuenta los movimientos relativos que se pueden presentar en las uniones intermedias que se han realizado con bridas, ya que a veces en esos puntos se producen flexiones que llegan a deformar la unión.


Consejo
Se deben utilizar eslingas en los lugares donde se prevea que el tramo se pueda deformar, así como en los extremos, para de esta manera elevar el material en las condiciones de seguridad adecuadas.
Los utillajes que se emplean en la elevación de las tuberías tienen unas formas especiales que pinzan el extremo de la boca, de forma que se consigue un agarre y apriete que permite el adecuado anclaje para la elevación.

En los casos donde se utilizan dos eslingas para la elevación vertical de los tramos de tubería, el agarre de esta se debe realizar como se indica en la imagen, ya que se generarían problemas de seguridad en el supuesto de realizarlos de manera incorrecta.


Ejemplo
Para el estibador, dedicado a la carga y descarga de materiales de buques, el conocimiento de los tipos de amarre de eslingas es esencial.
Para diámetros medios, existen brazos especialmente diseñados en los que el tubo se agarra por el perímetro, consiguiendo gran seguridad en la elevación, de forma que puede hacerse por medio de un solo brazo, evitando tener que realizar el anclaje por medio de dos o tres cables y eslingas.
Brazo para elevación

Aplicación práctica
Usted, con 15 años de experiencia en la empresa, es el encargado de realizar las labores de elevación de los tramos pesados de tuberías y accesorios en los montajes industriales, ya que dispone del carné de operador de cargas con grúas.
Describa las operaciones de unión de las eslingas a la plataforma donde se encuentran amarradas las tuberías, realizando un dibujo en el que se observen las operaciones correctas e incorrectas para el anclado.
SOLUCIÓN
Una vez depositada, desde el camión de transporte, la plataforma donde se encuentran los tubos rectos de gran diámetro en el acopio de material, se ha de subir a la parte superior de estos donde se colocarán las eslingas de manera adecuada en los puntos de elevación.
Con la escalera portátil asegurada, se sube y se toman los ganchos de la grúa, para situarlos en el ojal del anillo-brida de que dispone la plataforma con los tubos para ser desplazados.
La posición de los ganchos será siempre la que se observa en los siguientes dibujos. La abertura del gancho estará siempre hacia el interior.

Si la carga se desplaza horizontalmente en un sentido o en el otro, siempre estará la parte exterior maciza del gancho que asegurará que la carga no se descuelgue.
La tubería industrial necesita de soportes adecuados para poder funcionar correctamente en el lugar definitivo de instalación.
El armado en taller o en obra de los diferentes tramos de que consta un conjunto de tuberías y accesorios se puede realizar mediante soldadura o por uniones desmontables por atornillado. De esta segunda forma, será más fácil ampliar las instalaciones, consiguiendo a la vez una flexibilidad que a menudo es adecuada, debido a los diferentes movimientos que la instalación puede soportar cuando ya está funcionando.
Los accesorios como válvulas, codos y uniones se adaptan a la gran variedad de tipos de instalaciones y materiales empleados en los montajes, proporcionando la intercambiabilidad de las piezas normalizadas.
Los útiles de comprobación ayudan en la instalación de los tramos de tubería, para que el resultado final de esta tenga las características que se expresan en los proyectos, consiguiendo el buen funcionamiento.
La utilización de las herramientas aplicadas al montaje de tuberías es del todo necesario, así como la elección adecuada del tipo de soporte de cada tramo, y su posicionamiento definitivo.
El montaje correcto de un medio auxiliar, como el andamio, es necesario para conseguir la seguridad laboral, y su instalación debe seguir unas normas estrictas en cuanto a montaje, utilización y desmontaje.
En la elevación de los tramos de tuberías se debe mantener unas normas en el anclaje de las mordazas y también en la unión de los cables que mediante grúa elevan las cargas, para conseguir que los accidentes laborales se eliminen, así como los desperfectos que ocasionarían la pérdida de la carga que se está manejando.

Ejercicios de repaso y autoevaluación
1. Las formas, en general, de las uniones soldadas son:
2. Complete el siguiente texto.
En la soldadura eléctrica por arco, el __________ es el elemento que sirve de “unión teórica” entre las piezas a __________, permitiendo el paso de las cargas eléctricas y la __________ de los fragmentos a unir. El __________ sirve para evitar la oxidación del acero.
3. Relacione los sistemas de unión soldada empleados con los tipos de bridas que se utilizan en cada uno de ellos.
4. Para la comprobación del apriete adecuado de los tornillos y tuercas en las uniones desmontables roscadas se utiliza la...
5. Entre los útiles y herramientas usados para la alineación y nivelación de tramos de tuberías se encuentran...
6. Escriba una clasificación de los tipos de llaves que se utilizan para el montaje y desmontaje en las operaciones de atornillado manual.
7. La Normativa española por la que se establecen las disposiciones mínimas de seguridad y salud, en materia de trabajos temporales en altura viene expresada en...
8. Complete el siguiente texto.
Para trabajos realizados a una altura __________ de 2 m, con respecto a la __________ de posible caída, se colocarán barandillas con una altura mínima de __________ cm. y se dispondrá asimismo de __________ mínimo de 15 cm y __________ intermedia.
9. Indique si las siguientes afirmaciones son verdaderas o falsas.
En la soldadura oxigás se emplea una varilla de material compatible mientras se calientan las superficies con una mezcla de oxígeno y acetileno.
Para chaflanes de soldadura, la norma de obligado cumplimiento es la DIN 2559 que presenta cinco tipos de preparaciones.
Los rebordes de más en los cordones de soldadura, se eliminarán para conseguir una perfecta unión de las partes soldadas.
Tras realizar los pares de apriete, no se deben marcar claramente los tornillos comprobados con la llave dinamométrica.
Las abrazaderas de suspensión de tuberías se unen al soporte estructural mediante tornillos.
Se delimitarán claramente las zonas de acopio de piezas del andamio mediante vallado y señalización adecuada.
Al principio de la jornada laboral, habrá de plegar la plataforma de trabajo para evitar los desplazamientos accidentales.
10. Realice unos croquis con los tipos de amarre adecuados para elevar plataformas, elementos cilíndricos y tuberías de gran longitud.